How To Avoid Forklift Tip Overs
Learn how to avoid a forklift tip over and how to respond to one properly if a tip over occurs to help avoid injury or death.
Forklift tip-overs can result in serious injury or death and operators should always exercise caution. According to the Occupational Safety and Health Administration (OSHA), forklift tip-overs are the leading cause of accidents involving forklifts. Forklift operators should always be trained and qualified on how to avoid forklift tip-overs, but if a tip-over does occur, they also need to know what actions to take to help avoid injury or death. The following information on forklift tip-overs is taken from the Cat Lift Trucks Operations & Maintenance Manual. Always refer to your specific forklift’s Operations & Maintenance Manual for instructions on how to reduce the risk of tip overs as well as actions to take if one does occur.
The Basics of Stability
1. Understand Lift Truck Stability
Counterbalanced lift truck design is based on the balance of two weights on opposite sides of a fulcrum (the front axle).
The load on the forks must be balanced by the weight of the lift truck. The location of the center of gravity of both the lift truck and the load is also a factor.
This basic principle is used for picking up a load. The ability of the lift truck to handle a load is discussed in terms of center of gravity and both forward and sideways stabilities.

2. What is the Center of Gravity?
The Center of Gravity is defined as the point of an object where its weight is evenly distributed.
If the object is uniform, its geometric center will be the same as its Center of Gravity. If it is not uniform, this could be a point on either side of the normal geometric center.
When the lift truck picks up a load, the lift truck and the load have a new, combined Center of Gravity (Figure 1).

3. Determining Stability and the Center of Gravity
The stability of the lift truck is determined by the location of its CG, or if the lift truck is loaded, the combined CG.
The lift truck has moving parts and, therefore, has a CG that moves. The CG moves forward or backward as the mast is tilted forward or backward. The CG moves up or down as the mast moves up or down.

- Center of gravity - Lift Truck
- Combined center of gravity
- Center of gravity - load
The Center of Gravity and the stability of the loaded lift truck, are affected by a number of factors such as:
- The size, weight, shape and position of the load.
- The height of the lifted load.
- The amount of forward or backward tilt.
- Dynamic forces created when the lift truck is accelerated, braked or turned.
- Condition and grade of surfaces on which the lift truck is operated.
4. Factors Impacting Stability and Center of Gravity
Because an empty lift truck has the ability to tip-over sideways more easily than a lift truck carrying a load in the lowered position, these factors should be considered when the lift truck is unloaded:

- Center of gravity - load
- Combined center of gravity
- Center of gravity - Lift Truck
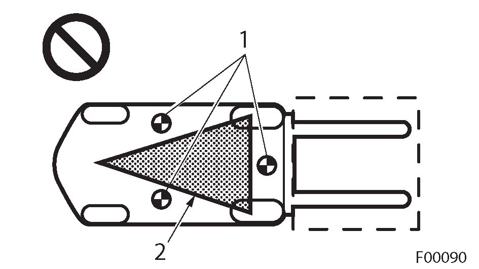
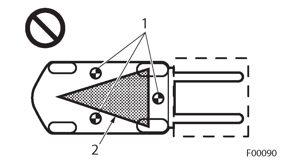
5. Lift Truck Stability Base
In order for the lift truck to be stable (not tip-over forward or sideways), the Center of Gravity must stay within the area of the lift truck stability base—a triangle drawn between the front wheels and the pivot of the rear axle. This is sometimes referred to as the “stability triangle”.
If the Center of Gravity moves forward of the front axle, the lift truck will tip over forward.
If the Center of Gravity moves outside of the line on either side of the stability base, the lift truck will tip over sideways.

- Combined center of gravity
- Stability base
6. Capacity and Weight vs. Forklift Load Center
The capacity of the lift truck is shown on the load capacity plate. It is determined by the weight and load center. The forklift load center is determined by the location of the center of gravity of the load.
The load center shown on the capacity plate is the horizontal distance from the front face of the forks, or the load face of an attachment, to the CG in the load. The location of the CG of the vertical direction is the same as the horizontal dimension.

Keep in mind that, unless otherwise indicated, the capacity shown on the forklift’s capacity plate is for a standard lift truck with standard backrest, forks and mast, and no special-purpose attachment. In addition, the capacity presumes the load center is no further from the top of the forks than it is from the face of the backrest.
If these conditions do not exist, the operator may have to reduce the safe operating load because the lift truck stability may be reduced. The lift truck should not be operated if its capacity plate does not indicate capacity.
7. Capacity Plate Must Be Visible
The forklift’s original capacity plate must remain affixed to the lift truck and not be removed, altered or changed without the manufacturer's approval.

Do’s and Don’ts to Avoid Forklift Tip-over
-
Fasten the seat belt!
The seat belt will keep you from being thrown out of the lift truck in a tip-over. The seat belt is used to protect your head and torso from being trapped between the lift truck and the ground. While it may not protect the forklift operator against all possible injury, it can help and often eliminate injury.

-
Do not jump off your lift truck if it starts to tip over!
The forklift operator must stay in the operator seat, hold on firmly and lean away from the point of impact to reduce the risk of serious injury or death.

-
Do not overload!
Handle loads only within the capacity shown on the capacity plate.

-
Watch “tail swing!”
Always maintain a safe distance from the edge of docks, ramps, and platforms. The lift truck could drop off the edge if you get too close to the edge.

-
Check surface strengths!
Stay away from soft ground to avoid tip-over.

-
Avoid fast starts, turns and sudden stops!
These movements could cause the lift truck to tip over.

-
Do not tilt elevated loads forward!
Do not tilt elevated loads forward except when the load is in a deposit position over a rack or stack. This could cause the lift truck to tip-over.

-
Do not turn on grades and use caution when crossing slopes!
Avoid turning on grades, and use extreme caution on grades, ramps, or inclines.

-
Do not raise forward titled loads!
This could also cause the lift truck to tip over.

-
Travel at a reduced speed on rough surfaces!
If not, the following accidents could result:
- The lift truck tips over.
- Hard to turn the steering wheel appropriately, leading to incorrect operation.
- Personnel is hit by the lift truck.

-
Do not pick up or place a load on grades!
Do not attempt to pick up or place a load on grades that could affect the lift truck's stability.

-
Do avoid slippery surfaces!
Slow down for wet and slippery surfaces.
Sand, gravel, ice or mud could cause a tip-over. If unavoidable, slow down.

-
Avoid off-center loading!
Only stable or safely arranged loads must be handled!
- Keep the center of gravity low and avoid off-center loading. Off-center loads could cause tip-over or falling loads.
- Slowly operate the lift truck when picking up or placing a long or wide load, or when turning with such a load.

-
Do not run over objects!
Do not run over loose objects.

-
Do not travel with forks higher than 15 to 20 cm (5.91 to 7.87 in.) above the ground!
The CG moves up increasing the possibility of a tip-over.

-
Do not make fast or sharp turns with a loaded or unloaded lift truck!
When turning a corner, reduce speed to a safe level consistent with the operating environment.

-
Do not turn sharply, even with an empty raised mast, to avoid a tip-over!
A lift truck with a raised mast will tip over more easily than a lift truck with a lowered mast because the stability of the lift truck worsens.

-
Wear a hard hat if recommended or required by your employer or applicable regulations.

-
Be aware of the stability of an empty lift truck!
An empty lift truck will tip over more easily than a loaded one in a lowered position.

-
Do fasten your seat belt!
Remember, your chances for survival with the seat belt fastened in a tip-over are better if you stay in the lift truck.

If Your Forklift Starts to Tip-over:
In the event of a forklift tip-over, remember the following critical steps so that you can quickly take action.
- Do not jump off the forklift even if it begins to tip over.
- Firmly hold on to the steering wheel.
- Brace your feet.
- Lean away from impact.
- Lean forward.

Prior to an operator driving a forklift, it is critically important for forklift operators receive safety training to ensure they are fully trained in methods to prevent forklift tip-overs. Forklift operators should thoroughly understand and heed safety instructions in their Operations and Maintenance Manuals so they can completely understand how to avoid forklift tip-overs as well as actions to take if one occurs.
Forklift Operator Training
We offer comprehensive operator training programs locally through our extensive dealer network. Contact your local dealer for more information about our forklift safety training, available certification programs or to schedule a direct training session for your business.
Additional Resources
- How To Get Forklift Certified
- Forklift Mast Types
- Forklift Safety Rules of the Road
- Operating Forklifts on Inclines, Ramps, and Grades







